Potentiometer
Ein Potentiometer ist ein elektrisches Widerstandsbauelement, dessen Widerstandswerte mechanisch (durch Drehen oder Verschieben) veränderbar sind. Es hat mindestens drei Anschlüsse und wird vorwiegend als stetig einstellbarer Spannungsteiler eingesetzt.
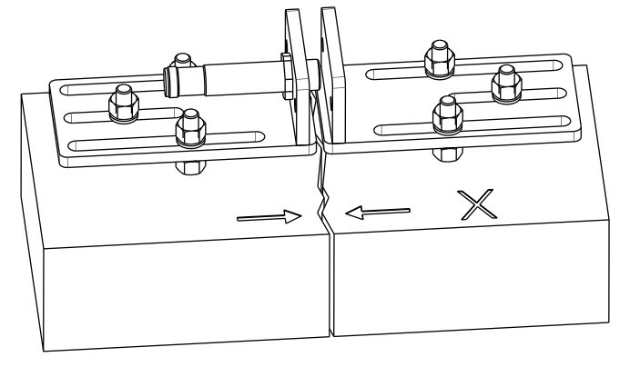
Rissmessung, Längenmessung und Abstandsmessung
Induktive Sensoren (LVDT) eignen sich durch ihre hohe Zuverlässigkeit und Genauigkeit zur Langzeitüberwachung kritischer Anwendungen in besonderem Maße. Aufgrund ihres Funktionsprinzips arbeiten sie absolut verschleißfrei und sind weitgehend resistent gegen äußere Einflüsse wie Schwingungen und Temperaturänderungen. Zudem zeichnen sie sich durch eine hohe Wiederholbarkeit der Messergebnisse und einer hervorragenden Langzeitstabilität aus.
Taster (Feder integriert]: TYP PC-LVDT/A 1

| Parameter | Value | Unit |
|---|---|---|
| Sensorart | Taster (Federbelastet) | – |
| Messbereich | 5, 10, 20 | mm |
| Auflösung | 0.001 | mm |
| Temperaturkoeffizient | < ±0,4 | [% F.S./10K] |
| Ausgangssignal | 0-5 VDC, 4-20 mA | – |
| Technologie | LVDT induktiv | – |
| Nullpunktfehler | < 0,02 % | % |
| Nichtlinearität | ± 0,45 optional ± 0,25 | % |
| Unkompensierter Temp. Fehler | 0.008 | mm / °C |
| Digital Output RS485 [optional] | M12 4 Pin ASCII Modbus | – |
| Analog Connector | M12 4 Pin | |
| Power Supply | 24 V | DC |
| Strom [analog] | 20 mA [analog] | mA |
Einsatzgebiet: hochpräzise Längenmessung
Riss-, Längen- und Abstandsmessung
Potentiometrische Sensoren
Taster (Feder integriert]: TYP PC-PTT

TYP PC-PTT
| Parameter | Value | Unit |
|---|---|---|
| Sensorart | Taster (Federbelastet) | – |
| Messbereich | 10, 25, 50, 75, 100, 150 | mm |
| Auflösung | 0.001 | mm |
| Temperaturfehler | < ±0,07 | [% F.S./10K] |
| Ausgangssignal | 0-10 VDC, 4-20 mA optional RS 485 Modbus ASCII | – |
| Technologie | Folien Poti | – |
| Nullpunktfehler | < 0,02 % | % |
| Nichtlinearität | ± 0,25% analog and ± 0,15% digital (24 bit ADC) | % FS |
| Nenntemperaturbereich | -25..+85 | °C |
| Digital Output RS485 [optional] | M8 4 Pin ASCII Modbus | – |
| Widerstand | 5K ±10% | Ohm |
| Power Supply | 24 V analog , 9-30 V digital | VDC |
| Strom [analog] | 20 mA [analog]; 30 mA [digital] | mA |
Einsatzgebiet: hochpräzise Längenmessung
Taster (Feder extern]: TYP PC-PTR

TYP PC-PTR
| Parameter | Value | Unit |
|---|---|---|
| Sensorart | Taster (Federbelastet) | – |
| Messbereich | 10, 25, 50, 75, 100, 150 | mm |
| Auflösung | 0.001 [24 bit ADC] | mm |
| Temperaturfehler | < ±0,7 | [% F.S./10K] |
| Ausgangssignal | 5 KOhm optional RS 485 Modbus ASCII | – |
| Technologie | Folien Poti | – |
| Nullpunktfehler | < 0,02 % | % |
| Nichtlinearität | ± 0,35 analog; ± 0,2 digital | % |
| Nenntemp. Bereich | -25..+85 | °C |
| Digital Output RS485 [optional] | Kabel 4 ASCII Modbus | – |
| Widerstand | 5K ±10% | Ohm |
| Power Supply | 12 V analog , 9-30 V digital | VDC |
| Strom [analog] | 20 mA [analog]; 30 mA [digital] | mA |
Einsatzgebiet: hochpräzise Längenmessung
| Bezeichnung | Material | Bild |
| Halter Extensometer | Edelstahl | ![]() |
| Extensometer Baugruppe | Edelstahl | https://www.position-control.de/wp-content/uploads/2017/07/Extensometer_Bg.pdf |
Potentiometer: Typ PC PTN

TYP PC-PTN
| Parameter | Value | Unit |
|---|---|---|
| Messverfahren | Potentiometer | – |
| Messbereich | 0 – 75 bis 0 – 550 mm (Abstufung 25 mm) | mm |
| Auflösung | 0.001 [ADC 24 bit] | mm |
| Genauigkeit bei 20°C | ± 0,25% analog and ± 0,15% digital (24 bit ADC) | mm |
| Ausgangssignal | 0-10 VDC or 4-20 mA | Vdc/mA |
| Technologie | Folien Poti | – |
| Nullpunktfehler | < 0,02 % | mm |
| Nenntemp. Bereich -20-75°C | -20-75 | °C |
| Elektrischer Anschluss | 4 pin female DIN43650 | G |
| Widerstand | 5K ±10% | Ohm |
| Power Supply | 24 | VDC |
| Temperature Range | -30°C +100°C | C° |
Einsatzgebiet: hochpräzise Längenmessung
Entfernungs- und Abstandsmessung
Potentiometer: Typ PC PTO


TYP PC-PTO
| Parameter | Value | Unit |
|---|---|---|
| Messverfahren | Potentiometer | – |
| Messbereich | 0 – 250 mm (Abstufung 25 mm) | mm |
| Auflösung | 0.001 | mm |
| Genauigkeit bei 20°C | ± 0,25% analog and ± 0,15% digital (24 bit ADC) | mm |
| Ausgangssignal | 5 kOhm or RS 485 Modbus | Modbus |
| Technologie | Potentiometer | – |
| Nullpunktfehler | < 0,02 % | FS |
| Unkompensierter Temp. Fehler | 0.01 mm | mm / °C |
| Elektrischer Anschluss | 4 wire | G |
| Widerstand | 5K ±10% | Ohm |
| Power Supply | 12 | VDC |
| Temperature Range | -20°C +100°C | C° |
Einsatzgebiet: hochpräzise Längenmessung mit integrietem Temperatursensor (nur bei digitaler Ausführung)
Entfernungs- und Abstandsmessung
Potentiometer: Typ PC PT3

Schutzabdeckung für Sensor Typ PC PT3

TYP PC-PT3
| Parameter | Value | Unit |
|---|---|---|
| Messverfahren | Potentiometer | – |
| Messbereich | 0 – 150 mm (Abstufung 25 mm) | mm |
| Auflösung | 0.001 | mm |
| Genauigkeit bei 20°C | ± 0,25% analog and ± 0,15% digital (24 bit ADC) | mm |
| Ausgangssignal | 5 kOhm or RS 485 Modbus | Modbus |
| Technologie | Potentiometer | – |
| Nullpunktfehler | < 0,02 % | FS |
| Unkompensierter Temp. Fehler | 0.001 mm | mm / °C |
| Elektrischer Anschluss | 4 wire | G |
| Widerstand | 5K ±10% | Ohm |
| Power Supply | 12 | VDC |
| Temperature Range | -20°C +100°C | C° |
Einsatzgebiet: hochpräzise Längenmessung mit integrietem Temperatursensor (nur bei digitaler Ausführung)
Sonderausführung: Schutzklasse IP67
Entfernungs- und Abstandsmessung
Schutzklasse: IP 67
Induktive Sensoren (Hochgenaue Längen- und Abstandsmessung)
Induktive Sensoren eignen sich durch ihre hohe Zuverlässigkeit und Genauigkeit zur Langzeitüberwachung kritischer Anwendungen in besonderem Maße. Aufgrund ihres Funktionsprinzips arbeiten sie absolut verschleißfrei und sind weitgehend resistent gegen äußere Einflüsse wie Schwingungen und Temperaturänderungen. Zudem zeichnen sie sich durch eine hohe Wiederholbarkeit der Messergebnisse und einer hervorragenden Langzeitstabilität aus.
Induktiver Sensor: TYP PC_DIA


| Parameter | Value | Unit |
| Sensorart | Induktiver Sensor | – |
| Messbereich | 1-2 | mm |
| Auflösung | RMS 10Hz < 0,012 µm | µm |
| Wiederholgenauigkeit 20°C | < 1 µm | < 1 µm |
| Ausgangssignal | 0-10 VDC, 4-20 mA optional RS 485 Modbus ASCII | – |
| Technologie | Induktion | – |
| Nullpunktfehler | < 1 µm | µm |
| Nichtlinearität | ± 60 µm FS | % |
| Temperaturdrift | ± 10 µm FS (0…60°C) | µm |
| Digital Output RS485 [optional] | M8 4 Pin ASCII Modbus | – |
| Stromaufnahme max. (ohne Last) | 50 mA ±10% | mA |
| Power Supply | 24 V analog , 9-30 V digital | VDC |
Zubehör Riss-, Längen- und Abstandssensorik
Hier finden sie die notwendigen Bauelemente, Halter und Verlagerungen, um Ihre Sensoren für die Rissmessung in verschiedenen Aufgabenstellungen fachgerecht zu plazieren.
In der Regel können diese Halterungen mit dem zugehörigen Befestigungssatz am Mauerwerk, Beton oder an einer Stahlkonst. befestigt und ausgerichtet werden.

Sensorhalter für die Messsung einer Horizontalverschiebung [X-Achse] des Risses

Sensorhalter für die Messsung einer Horizontalverschiebung [Y-Achse] des Risses

Sensorhalter für die Messsung einer Vertikalverschiebung [Z-Achse] des Risses

[maxbutton id=“12″]
Station für die Messsung einer 3D Verschiebung [X,Y u. Z-Achse] des Risses.
Hier eine Funktionsvideo der Crackscan Applikation:

Sensor-Kabel, 5-polig, PUR halogenfrei, schwarzgrau RAL 7021, freies Leitungsende, auf Buchse gerade M12, A-kodiert, Kabellänge: 5 m, mit Metallrändel

Polbild Buchse M12, 5-polig, A-kodiert, Ansicht Buchsenseite
Maße
| Kabellänge | 5 m |
|---|---|
Umgebungsbedingungen
| Umgebungstemperatur (Betrieb) | -25 °C … 90 °C (Stecker/Buchse) |
|---|---|
| Schutzart | IP65 |
Leitung
| Kabeltyp | PUR halogenfrei schwarz |
|---|---|
| Kabeltyp (Kurzzeichen) | PUR |
| Leiterquerschnitt | 5x 0,34 mm² (Signalleitung) |
| AWG Signalleitung | 22 |
| Leiteraufbau Signalleitung | 42x 0,10 mm |
| Aderfarben | braun, weiß, blau, schwarz, grün/gelb |

Gewindeanker GW8 [Material:Edelstahl]
| Länge | 110 mm |
| Gewinde | M 8 |
Funktionsweise / Montage
- Das Injektionssystem bestehend aus dem Injektionsmörtel in Verbindung mit der Gewindestange GW8 ist geeignet für die Vorsteck- und Durchsteckmontage.
- Der Mörtel wird vom Bohrlochgrund her blasenfrei injiziert.
- Der Mörtel verklebt die Gewindestange vollflächig mit der Bohrlochwand und dichtet das Bohrloch ab.
- Das Setzen der Gewindestange erfolgt von Hand unter leichter Drehbewegung bis zum Bohrlochgrund.
| Bohrernenndurchmesser | do | 10 [mm] | |
| Gewinde | Ø x Länge | M 8 [mm] | |
| Länge | l | 110 [mm] | |
| max. Nutzlänge GW8 | tfix, max | 40 [mm] | |
| min. Verankerungstiefe GW8 | hef, min | 60 [mm] |
Vorteile
- Aufgrund der hohen Verbundspannungen in Verbindung mit dem Injektionsmörtel erreicht das System ein sehr hohes Lastniveau in gerissenem und ungerissenem Beton und gewährleistet dadurch eine sichere Anwendung.
- Variable Verankerungstiefen von 4x bis 20x Gewindestangendurchmesser ermöglichen die ideale Anpassung an die einzuleitende Last und sorgen für optimierte Montagezeit und Materialeinsatz.
- Die geringe Verankerungstiefe ermöglicht den Einsatz in dünnen Bauteilen.
- Das System ermöglicht Gewindestangendurchmesser bis M20 für maximale Lasteinleitung.
- Die Vielzahl an zugelassenen Stahlsorten ermöglicht den Einsatz in allen Korrosionswiderstandsklassen und bietet maximale Sicherheit in der Anwendung.
Anwendungen
- schwere Stahlkonstruktionen
- Beton
- Mauerwerk
- Aufbeton-Verbinder
- Brückenverankerungen
- Unterwasser-Montagen

A/D Wandler PC-AD4-24bit
High Performance, 24-bit Σ-Δ analog-to-digital Konverter 4 Kanal für höchste Genauigkeitsanforderungen. Mit Hilfe dieses Messsystems können hochgenau Spannungen, Ströme oder auch Temperaturen über Widerstandsthermometer aufgezeichnet werden.
Technische Daten
- Analogeingänge: 4 simultan
- Auflösung: 24 Bit
- Abtastrate: 10 Hz (je Kanal)
- kundenspezifisch ausstattbar durch Auswahl unterschiedlicher Shunt´s: ±10V, ±5V, 0-5V, 0-10V, 4-20 mA
- RTD: Typen PT100, PT500, PT1000
- Galvanische Isolation
- Gehäuse: Schutzklasse IP 54
- Versorgung 10 – 30 V
- Ansprechbar über RS 485 Schnittstelle
- Kommunikation Protokoll: Modbus ASCII
- Integriete Temperaturmesssung zur Kompensierung möglicher Temperaturdrifts der Sensorik
- Polynominale Korrektur 3. Grades für jeden Messkanal integriert. (Frei programmierbar!)
- Abmessungen: 120 x 80 x 65 mm







